Làm thế nào để lựa chọn kích thước bồn cầu chuẩn cho phòng tắm? là câu hỏi được nhiều người quan tâm khi đi tìm mua những loại thiết bị vệ sinh cho gia đình mình.
Ngày nay, bồn cầu là một vật dụng không thể thiếu trong các gia đình. Tùy vào không gian sống mỗi gia đình có thể trang bị số bồn cầu lắp đặt cho phòng tắm khác nhau. Thế nhưng có một điểm giống nhau giữa các gia đình đó là nên tìm hiểu kích thước bồn cầu có phù hợp với không gian phòng tắm không trước khi lắp đặt.
Bài viết dưới đây, Hải Linh sẽ cung cấp cho khách hàng một vài thông tin về kích thước bồn cầu và cách lựa chọn kích thước bồn cầu như thế nào là chuẩn.
1. Kích thước bồn cầu như thế nào là chuẩn
Hiện nay trên thị trường có rất nhiều những thương hiệu bồn cầu khác nhau. Có thể kể đến một vài cái tên như Viglacera, Inax. TOTO, Grohe…
Với mỗi thương hiệu sẽ có những dòng bồn cầu có thiết kế, chất liệu, độ bền…khác nhau. Do đó, không có bất kỳ một quy chuẩn nào về kích thước bồn cầu. Kích thước bồn cầu chuẩn ở đây sẽ được tính dựa trên các yếu tố:
-
Bồn cầu có phù hợp với kích thước phòng tắm hay không. Đó còn chính là sự hài hòa với những thiết kế phòng tắm. Mang đến cho người dùng sự thoải mái khi sử dụng.
-
Kích thước bồn cầu chuẩn còn phụ thuộc vào sở thích của mỗi người. Có nhiều người ưa chuộng những chiếc bồn cầu có thiết kế nhỏ gọn. Nhưng cũng có những người thích sản phẩm có kích thước lớn.
Như đã kể trên, bồn cầu sẽ có những phân loại khác nhau như bồn cầu 1 khối, bồn cầu 2 khối, bồn cầu treo tường, bồn cầu thông minh, bồn cầu trẻ em. Do đặc thù mỗi hãng sẽ có những công nghệ, kích thước khác nhau. Do đó sẽ có những tính năng cùng giá thành sản phẩm khác nhau.
2. Kích thước bồn cầu phổ biến nhất hiện nay
Dưới đây là một vài kích thước bồn cầu phổ biến được khách hàng lựa chọn hiện nay. Chúng sẽ dựa trên phân loại của hãng bao gồm Viglacera, Inax, Toto…Hoặc dựa trên đặc điểm sản phẩm như bồn cầu 1 khối, 2 khối…
Kích thước bồn cầu 1 khối (778x400x655(mm)

Với những chiếc bồn cầu sở hữu kích thước 778x400x655(mm) sẽ mang đến sự thoải mái trong quá trình sử dụng. Do bồn cầu 1 khối có phần két nước không tách rời nên chúng sẽ có kích thước lớn hơn so với bồn cầu 2 khối và treo tường. Nếu gia đình nào có không gian phòng tắm đủ rộng thì có thể sử dụng loại này. Vì chúng vừa cho độ thẩm mỹ cao, giúp cho phòng tắm tăng tính sang trọng.
Kích thước Bồn cầu 2 khối (750x365x740mm

Với kích thước khá hấp dẫn, bồn cầu 2 khối dành cho những gia đình có mong muốn tiết kiệm thêm diện tích.. Bạn có thể dễ dàng kéo phần két nước đến khi nào phù hợp nhất với diện tích sẵn có của phòng tắm. Dòng bồn cầu này được đa số gia đình sử dụng nhất là với những gia đình có diện tích phòng tắm hẹp.
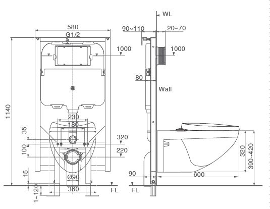
Kích thước bồn cầu treo tường (600x360x320mm)

Điều chú ý khi lắp đặt bồn cầu treo tường đó là chú ý về độ sâu của sản phẩm. Điều này đòi hỏi thợ lắp đặt phải là người có tay nghề cao mới có thể thi công nhanh chóng và dễ dàng. Con số giao động của kích thước bồn cầu treo tường có thể đạt trong khoảng sau:
-
Chiều dài: 355-370mm
-
Chiều rộng: là 480-700mm
-
Chiều cao là: 350-400.mm
Đây cũng là dòng bồn cầu có phần bệ nước khá nhỏ, được lắp chìm vào bên trong tường nên cũng sẽ giúp tiết kiệm diện tích phòng tắm và tăng độ thẩm mỹ.
Kích thước bồn cầu thông minh
Bồn cầu thông minh thường có phần bệ ngồi lớn để mang đến cảm giác thoải mái cho người dùng. Các bạn có thể tham khảo số đo trong khoảng sau:
-
Chiều rộng: 460 – 500
-
Chiều dài: 790
-
Chiều cao tối thiểu: 380
-
Chiều cao tối đa: 610
-
Tâm thoát: 170
Kích thước bồn cầu trẻ em

Hiện nay bồn cầu trẻ em được sử dụng rộng rãi trong các trường mầm non. Điều này sẽ giúp cho trẻ ý thức được việc tự chủ khi đi vệ sinh. Kích thước dạng bồn cầu này sẽ nằm trong khoảng
-
Chiều rộng – lên tới 400 mm
-
Độ sâu (chiều dài) – lên tới 700 mm
-
Chiều cao – 650 mm
3. Kích thước bồn cầu TOTO phổ biến nhất
Bồn cầu ToTo 1 khối
Dòng sản phẩm bồn cầu 1 khối Toto được thiết kế với kích thước lớn, và thể hiện sự cứng cáp, mang đến cho người dùng sự tiện ích, thoải mái nhất. Do đó dòng bồn cầu này hết sức thích hợp với không gian rộng rãi, thoáng đãng.

Với thân được làm bằng sứ cao cấp, bề mặt có độ trắng hết sức tối ưu, và độ bóng bền bỉ với thời gian. Bên cạnh đó lớp sứ này còn được phủ lớp men CEFIONTECT hiện đại giúp chống vi khuẩn, bám bẩn đảm bảo an toàn cho sức khỏe người dùng.
Bồn cầu 2 khối Toto
Các mẫu bồn cầu 2 khối Toto được thiết kế với kích thước hết sức gọn gàng và có thể sử dụng mọi không gian từ rộng đến hẹp. Đặc biệt mẫu bồn cầu này thích hợp với những không gian có kích thước hạn chế và không được rộng rãi.

Các sản phẩm đều được trau chuốt trong từng đường nét thiết kế, từ đó tạo nên một sản phẩm tinh tế đến từng chi tiết. Nhờ đó giúp cho bạn xây dựng được một không gian hài hòa, thẩm mỹ nhất cho công trình của gia đình bạn.
4 . Kinh nghiệm chọn kích thước bồn cầu cho không gian phòng tắm
Lựa chọn bồn cầu theo không gian phòng tắm
Tại những thành phố lớn, diện tích đất khá chật hẹp. Do đó nếu gia đình bạn có điều kiện đầu tư cho phòng tắm thì có thể lựa chọn những mẫu bồn cầu 2 khối cao cấp hoặc bồn cầu treo tường. Điều này vừa giúp không gian phòng tắm được tối ưu hơn mà còn mang đến vẻ hiện đại, bắt mắt.
Với những gia đình có không gian phòng tắm diện tích rộng. Bạn có thể lựa chọn những sản phẩm bồn cầu 1 khối hoặc bồn cầu cảm ứng thông minh. Đây là những sản phẩm có thiết kế hiện đại, hợp tiêu chuẩn, đem lại sự thoải mái cho người dùng.
Lựa chọn bồn cầu theo chi phí
Đây cũng là vấn đề được rất nhiều người quan tâm. Vì không phải gia đình nào cũng có điều kiện giống nhau. Do đó, các hãng đã cho ra thị trường những dòng bồn cầu với chi phí khác nhau nhưng vẫn đảm bảo về chất lượng sản phẩm.
Giá tiền chênh lệch sẽ quyết định bởi những công nghệ tích hợp trong bồn cầu hay tính chất, cấu trúc của sản phẩm.
Trên đây là những thông tin giúp bạn dễ dàng lựa chọn kích thước bồn cầu. Việc chọn đúng sản phẩm sẽ giúp cho không gian phòng tắm của gia đình bạn trở nên đẹp hơn, tạo cảm giác thoải mái cho người dùng. Chúc các bạn lựa chọn thành công.
